执行资讯

掌握动态,指导实践

位置:首页>执行资讯

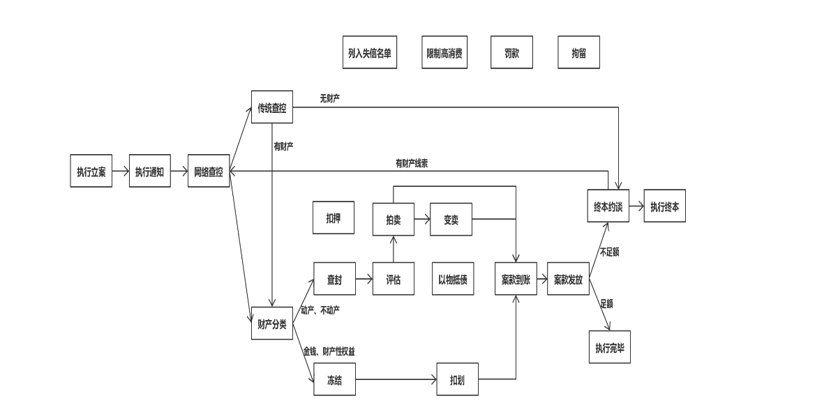
广州市海珠区人民法院执行实施流程

点击复制标题网址

——温馨提示——

已复制到剪贴板,可粘贴到下一处。


时间:2025-07-05   查看:1013

编者按:以深圳专业执行律师为视角,分享提供申请强制执行经验技巧观点看法、申请强制执行经验技巧和申请强制执行法律法规等执行领域各类法律知识。

执行实施流程.png


本文标签:

发表评论:

评论记录:

未查询到任何数据!
关于律师
————受人之托,忠人之事————
专业执行律师

邓杰律师

专业

深更厚积专注执行

尽责

全力办理执行委托

务实

扎实维护胜诉权益

邓杰,专业执行律师(律师执业证号:14403201810022100),拥有十分丰富的复合从业经历,现(或曾)兼任深圳市人民政府听证员,深圳市某区城建部门政府公职律师、政府工程定标专家,深圳市政府法律类采购评审专家,网络技术工程师等,目前执业于北京市炜衡(深圳)律师事务所(律所执业证号:24403200511032007)。邓杰律师在民事强制执行领域专注于深耕厚积精研,不仅淬炼了独到的财产调查技巧,还集聚了强大的团队协作资源,多年来身体力行大量参与办案实践和法条案例研究沉淀下了丰富的执行回款经验。邓杰律师擅长巧用强制执行程序规则措施,定制多措并举的执行解决方案,凝聚合力推动执行案件早日实现回款目标。邓杰律师奉行的执业信条为“受人之托、忠人之事、成人之美”,自始至终以最大限度、最大可能维护委托人的胜诉权益为价值追求。如您有胜诉判决得不到有效执行,可以委托专业强制执行律师代办。

扫一扫,存名片

专业执行律师名片

律师名片

QQ扫一扫

专业执行律师qq

QQ咨询

电话咨询

邓杰律师电话:13715198118

请输入您的联系电话,座机请加区号

电话咨询

微信扫一扫

专业执行律师微信

微信联系